Programming a Back Biased Switch for Proximity Sensing

Proximity Sensing Programming Technique

figure 1 - click to enlarge Proximity switch, proximity switches This applications note assumes the user is programming an Allegro™ fully integrated back biased Hall effect switch or that the user has designed an appropriate magnetic circuit to accommodate the programming range of a programmable unipolar Hall effect switch. Programming is accomplished by controlling the offset of the Schmitt trigger, as seen in the functional block diagram in Figure #1. The method of programming the device is given in the appropriate datasheet.

figure 2 - click to enlarge A graph of Magnetic Flux Density of the Reference Target vs. Position (Rotational Degrees) helps to illustrate programming and its effects on the performance of the Hall-effect device, see Figure #2. Each curve represents a different installation air gap for the device; only one tooth is used to represent a typical ferrous target used for proximity sensing. A piece of metal that translates instead of rotating would generate a similar graph with a horizontal axis in millimeters instead of degrees. As proximity sensing applications can use either rotating or translating targets, this paper uses rotating as a convention. A detailed description of the Reference Target can be found in Appendix A.

figure 3 - click to enlarge, proximity sensor IC Notice that an arbitrary Schmitt threshold would represent two horizontal lines on the graph, separated by the typical hysteresis of 20 Gauss. The more positive switch-point is called BOP (Magnetic Operate Point) and the more negative is called BRP (Magnetic Release Point). The output switches at BOP when the signal goes from the valley to the tooth and on BRP when the signal goes from tooth to valley. (Reference Figure #3)

figure 4 - click to enlarge Figure #4 is a further zoom of the BOP switchpoint moving from valley to tooth. Two vertical lines are drawn to show the switch-point location at installation air gaps of 0.75mm and 2.25mm for the given BOP. Notice that the difference between the air gaps is approximately 1.5° over the air gap range 0.75mm to 2.25mm. This is the relative accuracy that is expected over installation air gap for the given arbitrary threshold.

Proximity Sensing

In the proximity sensing case the switchpoint is programmed to achieve the desired position, which may be in millimeters or degrees on the horizontal axis of figures #2, 3, and 4. Programming makes it possible to compensate for mechanical offsets generated during manufacturing, which allows for tight control of the switching position. For example: if the desired switchpoint in figure #4 is 12° and the device is installed at 0.75mm air gap, then BOP in should be programmed at approximately 400 Gauss, a higher level than that shown in the figure. If the device were installed at 2.25mm air gap then BOP should be programmed at just over 200 Gauss or slightly lower than that shown in figure #4.

Note: care must be taken not to adjust the switch-point too close to either the tooth or the valley field as the IC switch-point will vary over temperature according to the specification. If the switching threshold drifts above the tooth signal or below the valley signal at any given installation air gap then the device will not switch.

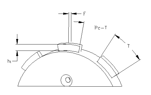
Reference Target Dimensions

Target Diameter
(Do)
Thickness
(F)
Tooth Width
(T)
Valley Width
(Pc - T)
Valley Depth
(ht)
Reference Target 120mm 6mm 23.5mm 23.5mm 5mm

reference target dimensions - click to enlarge gear

Gear Parameters for Correct Operation

Characteristic Description Limits
Min. Typ. Max. Units
Valley Depth (ht) Depth of Target Valley 5 mm
Valley Width (Pc - T) Length and Width of Target Valley 30 mm
Tooth Width (T) Width of Target Tooth 5 mm
Thickness (F) Thickness or Length of Target Tooth 5 mm

Possible Applications

  • Proximity sensing
  • Vane interrupter switch
  • Speed sensing
  • Cam sensing
  • Rotary Encoder
  • Brake light switch
  • Revolution counting
  • Flow meter
  • Level meter
  • Non-contact limit switch
  • Brushless motor commutation
  • Headlight position sensing

Please visit the Allegro website, www.allegromicro.com, for magnet suppliers.

Reference STP99-2