Current Sensors

High-Precision Linear Hall-Effect-Based Current Sensor IC With 200 μΩ Current Conductor

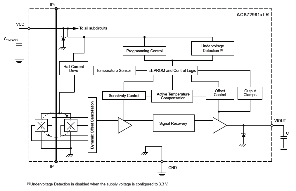
ACS72981

Product Details

Top Features

  • High-bandwidth 250 kHz analog output
  • Less than 2 μs output response time
  • 3.3 V and 5 V supply operation
  • Ultralow power loss: 200 μΩ internal conductor resistance
  • Industry-leading noise performance and increased
  • Greatly improved total output error through digitally programmed and compensated gain and offset over the full operating temperature range
  • Small package size, with easy mounting capability
  • Monolithic Hall IC for high reliability
  • Output voltage proportional to AC or DC currents
  • Factory-trimmed for accuracy
  • Extremely stable zero amp output offset voltage over temperature and lifetime

Part Number Specifications and Availability