Current Sensors
200kHz, 1.5% Max Tolerance, 100 µΩ Internal Resistance Module-alternative Current Sensor for High Current, High Voltage Applications
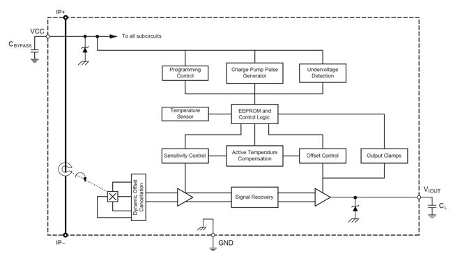
ACS773
Product Details
Product Details
Top Features
- AEC-Q100 Grade 1 qualified
- Typical of 2.5 μs output response time
- 3.3 V supply operation
- Ultra-low power loss: 100 μΩ internal conductor resistance
- Reinforced galvanic isolation allows use in economical, high-side current sensing in high-voltage systems
- 4800 Vrms dielectric strength certified under UL60950-1
- Industry-leading noise performance with greatly improved bandwidth through proprietary amplifier and filter design techniques
- Integrated shield greatly reduces capacitive coupling from current conductor to die due to high dV/dt signals, and prevents offset drift in high-side, high-voltage applications
- Greatly improved total output error through digitally programmed and compensated gain and offset over the full operating temperature range
- Small package size, with easy mounting capability
- Monolithic Hall IC for high reliability
- Output voltage proportional to AC or DC currents
- Factory-trimmed for accuracy
- Extremely stable output offset voltage
- Available in ratiometric and non-ratiometric versions
Target Applications
- OBC
- EV Charging Stations
- Inverters
- Power Supplies
- Overcurrent Fault Protection
- Any High Accuracy Current Sensing Apps requiring >50A (continuous), 2.5μs response time AND high isolation.
Part Number Specifications and Availability
Technical Documentation
Application Note
Glossary of Isolation-Related Terms for Integrated Current Sensors
Application Note
DC Current Capability and Fuse Characteristics of Current Sensor ICs with 50 to 200 A Measurement Capability
Application Note
Improved Performance and Features of Allegro’s Next Generation, High Power Density CB Package Current Sensors
Brochure
Brochure: Battery Management Systems
Brochure
Comfort Through Sustainability - Unlock the Power of Heat Pump Innovation
Brochure
DC Fast Charging: Faster and Farther
Certificate
Certificate CB US 42444 UL CB Package
Certificate
Certificate of Compliance 20170510-E316429
Certificate
CB Certificate US-29755-M1-UL
FAQ