Magnetic Position Sensors

Precision, Hall-Effect Angle Sensor IC with SPI, and SENT or PWM Outputs

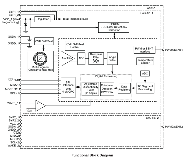
A1337

Product Details

Top Features

  • Contactless 0° to 360° angle sensor IC, for angular position and rotation direction measurement
    • Circular Vertical Hall (CVH) technology provides a single-channel sensor system, with air gap independence
  • 12-bit resolution possible in Low RPM mode, 10-bit resolution in High RPM mode
  • Angle Refresh Rate (output rate) configurable between 25 and 3200 μs through EEPROM programming
    • Capable of sensing magnetic rotational speeds up to 7600 rpm, and up to 30,000 rpm with reduced accuracy
  • SPI, and SENT (Single Edge Nibble Transmission) or PWM (Pulse-Width Modulation)*
  • SPI interface provides a robust communication protocol for fast angle readings*
    • SENT output supports four modes: SAEJ2716 (JAN2010) and Allegro proprietary options of Triggered SENT (TSENT), Sequential SENT (SSENT), and Addressable SENT (ASENT)*
    • Programmable via Manchester Encoding on the VCC line, reducing external wiring*
    • SPI and SENT interfaces allows use of multiple independent sensors for applications requiring redundancy*
  • Advanced diagnostics to support safety-critical applications, including:
    • On-chip, user-controlled logic built-in self-test (LBIST) and signal path diagnostics
    • 4-bit CRC on SPI messages
    • User-Programmable Missing Magnet Error flag for notifying controller of low magnetic field level
  • Diagnostics are initiated over the SPI or SENT interface and can directly test proper operation of the IC in safety-critical applications
  • Integrated Turns Counter tracks magnet rotation in CW/CCW direction from –1280 to +1280 counts, even when vehicle is in key-off state
    • Count updates are user-selectable to be every 180° or every 45° degree of magnet rotation
    • WAKE pin for external wake-up trigger can be used to automatically detect motion > 100 rpm
  • Low-Power Mode enables direct connection to vehicle battery
    • User-programmable duty cycle optimizes low-power mode current consumption (typically 85 μA per die)
    • Ultralow-power Transport mode
  • EEPROM with Error Correction Control (ECC) configuration, sensor calibration including end-of line adjustments like programmable angle reference (0°) position and rotation direction (CW or CCW)
  • Available in both single-die and dual-die configurations
    • Dual-die devices contain two independent die housed within a single package
  • Absolute maximum VCC of 26.5 V for increased robustness and direct connection to automotive vehicle battery

    * See Selection Guide for more details.

Part Number Specifications and Availability