Magnetic Position Sensors

High Precision, Programmable Linear Hall Effect Sensor IC with EEPROM, SENT and PWM Output Protocols, and Advanced Output Linearization

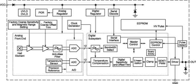
A1341

Product Details

Top Features

  • Advanced 32-segment output linearization functionality enables high output accuracy and linearity in the presence of non-linear input magnetic fields
  • Selectable digital SENT (Single Edge Nibble Transmission) or PWM (Pulse Width Modulation) output
  • SENT output is SAEJ2716 JAN2010 compliant with Allegro Proprietary Enhanced Programmable Features
  • Customer programmable sensitivity offset, bandwidth, output polarity, output clamps, 1st and 2nd order temperature compensation
  • Simultaneous programming of all parameters for accurate and efficient system optimization
  • Factory trimmed magnetic input range (coarse sensitivity) and signal offset
  • Sensitivity temperature coefficient and magnetic offset drift preset at Allegro, for maximum device accuracy without requiring customer temperature testing
  • Temperature-stable, mechanical stress immune, and extremely low noise device output via proprietary four-phase chopper stabilization and differential circuit design techniques
  • Diagnostics for open circuit, overvoltage, and undervoltage
  • Wide ambient temperature range: –40°C to 150°C
  • Operates with 4.5 to 5.5 V supply voltage
  • Allegro Sensor Bias LDO

Part Number Specifications and Availability

Design Tools

Technical Documentation