Product Details
Product Details
Top Features
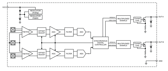
- Two independent digital outputs representing the sensed target’s mechanical profile
- Optional output with high resolution position and direction detection information
- Air gap independent switch points
- Integrated back-biasing magnetic circuit
- Immunity to external magnetic interference
- Wide operating voltage range
- Single chip IC for high reliability
- Robust test coverage and reliability using Scan and IDDQ test methodologies
- Optional Double-Bandwidth configuration
Part Number Specifications and Availability
Design Tools
Technical Documentation
Application Note
Speed Sensor Protocols
Application Note
Fundamental Properties of Speed Sensors
Application Note
Magnetic Encoder Design for Electrical Motor Driving Using ATS605LSG
Guide
Guidelines for Designing Subassemblies Using Hall-Effect Devices
Technical Article