磁気ポジション センサー

Programmable Angle Sensor IC with Analog and PWM Output

A1330

Product Details

Top Features

  • Analog output, configurable to ratiometric or non-ratiometric
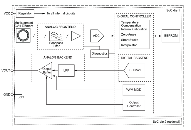
  • Contactless 0° to 360° angle sensor IC, for angular position, rotational speed, and direction measurement
  • Single and dual die options available in same package
  • Non-volatile memory (EEPROM) for use in application trimming/calibration
  • Circular Vertical Hall (CVH) technology provides a single-channel sensor system with air gap independence
  • 12-bit resolution possible in Low RPM mode, 10-bit resolution in High RPM mode
  • Angle Refresh Rate (output rate) configurable between 25 and 3200 μs through EEPROM programming
  • Customer-programmable output clamp levels provide short-circuit diagnostic capabilities
  • Open-circuit detection on ground pin (broken wire)
  • Undervoltage lockout for VCC below specification
  • Fine angle scaling for short-stroke applications
  • Missing Magnet Error flag for notifying controller of low magnetic field level
  • EEPROM programmable angle reference (0°) position and rotation direction (CW or CCW)
  • AEC-Q100 automotive qualified

Part Number Specifications and Availability

Design Tools