磁気ポジション センサー

A1308-9: アナログ出力の、小型で薄い表面実装のパッケージも利用可能な リニア ホール効果センサー IC

A1308-9

Product Details

Top Features

  • 5V の電源駆動
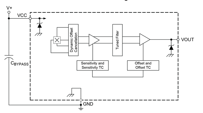
  • QVO の温度係数は精度の向上のため、Allegro™ でプログラムされています
  • 小型パッケージのオプション
  • 広帯域、低ノイズなアナログ出力
  • 高速チョッパー法により広範な動作温度下でQVOドリフトを最小化
  • 温度安定性のある静止時出力電圧および感度
  • 温度サイクル後の正確な回復性
  • 出力電圧クランプのオプションは短絡診断の機能を提供します
  • 低電圧保護 (UVLO)
  • 広範な周辺温度範囲: –40°C ~ 150°C
  • 機械的ストレスに影響されない
  • 過酷な車載用アプリケーション向けに強化された EMC のパーフォーマンス

Part Number Specifications and Availability

Design Tools