磁気速度センサー

ATS693LSG: 3線式、スピードおよび方向出力付き耐振センサーIC

ATS693

Product Details

Top Features

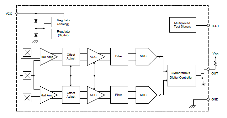
  • 3 線式パルス幅出力プロトコル
  • ターゲット プロフィールを示すデジタル出力
  • ターゲットのスピードおよび方向情報
  • 振動耐性
    • 小振幅振動向けの小信号ロックアウト
    • 大振幅振動向けの独自の振動検出アルゴリズム
  • エア ギャップの影響を受けないスイッチポイント
  • 大きな動作エア ギャップの機能
  • 低電圧ロックアウト
  • 真のゼロ速度運転
  • 広範な動作電圧範囲
  • 信頼性を高めるシングル チップ感知 IC
  • 走査パスと IDDQ 測定を使用した堅牢なテスト カバレッジ機能

Part Number Specifications and Availability

Design Tools