Differential Current Sensing with the 1 MHz Bandwidth ACS733

Download PDF Version

Abstract

This application note describes the use of the new highly isolated, high bandwidth ACS733 Hall-effect current sensor integrated circuit (IC) from Allegro MicroSystems and gives an overview of its features and advantages over a highspeed current transformer (CT) current sensing solution.

Introduction

The ACS733 is the first 1 MHz bandwidth Hall-effect current sensor IC with 3600 VRMS isolation from Allegro. The sensor provides users with an accurate, low cost solution for isolated current sensing at high bandwidths with a small form factor. The device’s high bandwidth is accomplished by a high-speed analog signal path that employs differential sensing to provide immunity to interfering common mode magnetic fields. Figure 1 below shows the pinout of the device. The IC is packaged in the wide body SOIC 16 pin LA package. Pins 1 through 8 of the part are reserved for current input, four pins for both the positive and negative terminals. These pins are all internally connected with low resistance leadframe copper for better thermal performance.

Pins 9 through 16 of the ACS733 are the output signal pins. VCC and GND are for powering the device, and VIOUT is an analog output representing the sensed current level on the IP bus. The FAULT pin is high when low amounts of current are sensed, but will be pulled low if currents above a certain threshold are sensed. This level is set on the VOC pin with a voltage divided level as a percent of VCC, corresponding to a percent of the maximum rated current for the device. The PROGRAM pin is used for factory calibration and should be tied to ground for best ESD performance in application.

Figure 1: ACS733 Pinout in LA 16-Pin SOICW Package
Figure 1: ACS733 Pinout in LA 16-Pin SOICW Package
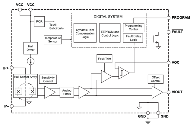
The block diagram in Figure 2 shows the internal block diagram of the device. The temperature sensor allows Allegro to fine tune the zero amperage output voltage and sensitivity (signal path gain) over temperature. The IC stores temperature compensation values in the EEPROM which provides a stable or high accuracy output signal over the full operating temperature range of the device.
Figure 2: Functional Block Diagram
Figure 2: Functional Block Diagram

 

Differential Sensing

Current sensing technologies that depend on magnetic field for measurement can become compromised by external magnetic fields. By using two Hall plates measuring opposite polarities of the field created by the input current, the ACS733 is able to reject common-mode fields. This allows te part to be used near other current traces. The ACS733 has approximately –40 dB of common-mode field rejection for a uniform and constant field. For more information on differential sensing, see the application note “Common Mode Field Rejection in Coreless Hall-Effect Current Sensor ICs”.

The common-mode field rejection of the ACS733 is an advantage over a CT, because a CT core can saturate in the presence of external magnetic field and change the operating characteristics of the device.

Noise and Sensitivity

The ACS733 has a typical noise density of 80 μA/√Hz. Across the entire bandwidth of 1 MHz, this becomes an input-referred total noise of 100 mARMS. At different sensitivities, this amperage error will manifest at the output as different levels of mV error, but this indicates the part has an effective 100 mA resolution. Table 1 below compares the mV output error seen for the currently offered sensitivities of the ACS733. However, this noise can be reduced by decreasing the effective bandwidth of the device, either with oversampling and averaging, or by filtering the output with an RC filter.

Table 1: Sensitivity and Resulting mV Noise

Part  Sensitivity
(mV/A)
Noise Density
(μA/√Hz)
Resolution
(mA) 
Error
(mV)
733-20AB 66 80  100 6.6
733-40AU   4.4 
733-40AB  33   3.3
733-65AB   20   2.0

 

High Bandwidth Operation and Fast Response Time

The ACS733 has a high operating bandwidth of 1 MHz. The device’s high speed analog signal path provides the fastest response time of any Allegro fully integrated current sensor IC. The typical response time to a step input is <800 ns on the output, and the typical fault output responds in <600 ns. Figure 3 shows the ACS733 responding to a current step compared to the response of a typical current transformer (CT). Both respond very quickly to the 1 μs input step.

Figure 3: CT and ACS733 Step Response Comparison
Figure 3: CT and ACS733 Step Response Comparison 

 

User-Settable Overcurrent Fault Detection

An additional feature of the ACS733 is the user-settable overcurrent open-drain NMOS fault output. This allows an even faster reporting of overcurrent or shorting events. This pin will detect overcurrent events faster than ADC conversion of the analog output signal. The fault level of the ACS733 can be set to any level from 50% of the maximum primary sensing current (IPR(MAX)), all the way up to 200% of IPR(MAX) using a simple resistor divider on the VOC pin. This provides the customer an easy method to set the overcurrent level for their specific application.

The resistor divider on the VOC pin is set with levels of 10% of VCC to set the fault level to 50% of IPR(MAX), and a voltage level of 40% of VCC to set the fault level at 200% of IPR(MAX). Table 2 below shows these calculations for the ACS733 at four different fault levels. Equation 1 shows the calculation for the percent of VCC for any desired fault level.

VOCPercent = FaultPercent × 0.2       (1)

Table 2: Fault Level and Voltage Divider Examples

Supply
Voltage (V)
 VOC
(%VCC)
VOC
(V) 
Fault Level
(%IPR(MAX))
Resistors
(kΩ)
3.3
10  0.33  50  9 / 1 
 20 0.66 100  8 / 2
30  0.99  150 7 / 3
40  1.32 200 6 / 4


The fault signal is high when no fault is detected. When an overcurrent event occurs, the open-drain NMOS output pulls the output of the FAULT pin low. Figure 4 below shows the function of the fault output in response to a current step input. Since the device has an open-drain NMOS output, they can be logically OR’ed for multiphase systems to a single fault interrupt digital I/O pin of the controller.
Figure 4: ACS733 Overcurrent Fault Detection
Figure 4: ACS733 Overcurrent Fault Detection

 

Compact Form Factor

A current transformer is bulky, requiring an offset core with windings and a resistive load to sense current. The ACS733 is a fully integrated sensing solution in a standard SOIC16W surface mount package that takes up minimal printed circuit board (PCB) area. Below, Figure 5 shows the size of the ACS733 compared to two CTs. When trying to minimize the size of a system, the ability to run the current trace on the board to the part which is mounted to the PCB would offer a significant space-saving advantage.

Figure 5: Size Comparison of ACS733 and Current Transformers
Figure 5: Size Comparison of ACS733 and Current Transformers

 

High Voltage Isolation

Despite its small size, the patented package technology provides for high voltage isolation. The high current pins are isolated from the low voltage signal pins because only the magnetic field needs to be sensed. The ACS733 in the SOIC16W (LA package) is certified to 3600 VRMS in accordance with UL 60950-1 (edition 2).

Conclusion

The ACS733 has an array of features which offer significant advantages when high speed and high voltage isolation current sensing are required. The LA SOICW package is a surface-mount solution that is easy to integrate and reduces PCB area over a bulky current transformer solution. The SOIC16 wide body package of the ACS733 provides 3600 VRMS isolation from the current carrying trace to the signal pins. The sensor IC is optimized over the operating temperature range at the Allegro factory and provides an open-drain NMOS FAULT output for a fast digital output when overcurrent and short-circuit events occur. This fully integrated sensing technology is truly a system-on-a-chip solution that is compatible with automotive and industrial applications, making it easy for engineers to design into their applications.