Current Sensors
1 MHz Bandwidth, Galvanically Isolated Current Sensor IC in SOIC-16 Package
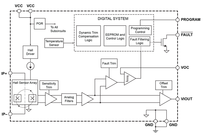
ACS732-3
Product Details
Product Details
Top Features
- AEC-Q100 automotive qualified
- High bandwidth, 1 MHz analog output
- Differential Hall sensing rejects common-mode fields
- High-isolation SOIC16 wide body package provides galvanic isolation for high-voltage applications
- Industry-leading noise performance with greatly improved bandwidth through proprietary amplifier and filter design
- UL60950-1 (ed. 2) certified
- Dielectric Strength Voltage = 3.6 kVRMS
- Basic Isolation Working Voltage = 616 VRMS
- Fast and externally configurable overcurrent fault detection
- 1 mΩ primary conductor resistance for low power loss and high inrush current withstand capability
- Options for 3.3 V and 5 V single supply operation
- Output voltage proportional to AC and DC current
- Factory-trimmed sensitivity and quiescent output voltage for improved accuracy
- Nearly zero magnetic hysteresis
- Ratiometric output from supply voltage
Part Number Specifications and Availability
Technical Documentation
Application Note
CMTI Comparison for Allegro Integrated Conductor Current Sensors
Application Note
How to Analyze and Compare Allegro Current Sensor and ADC Error Components
Application Note
Techniques to Mitigate Offset Error of ACS732 and ACS733
Application Note
Package Thermal Resistance for Allegro Current Sensors with Integrated Conductors
Application Note
Glossary of Isolation-Related Terms for Integrated Current Sensors
Application Note
Current Sensing in Motor Drives
Application Note
Differential Current Sensing with the 1 MHz Bandwidth ACS733
Certificate
CB Certificate US-32210-M3-UL
Certificate
Certificate CB US 36315 UL MA Package
Certificate
Certificate CB US 42444 UL CB Package
Certificate
Certificate of Compliance 20190906-E316429
Certificate
CB Certificate US 23711 A2 UL
Certificate
Certificate of Compliance 20160520 E316429
Certificate
Certificate of Compliance 20170510-E316429
FAQ
Current Sensors FAQ
Guide