Brush DC Drivers

Dual Full Bridge Low Voltage Motor Driver

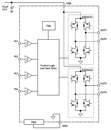
A3901

Product Details

Top Features

  • Low RDS(on) outputs
  • Full- and half-stepping capability
  • Small package
  • Forward, reverse, and brake modes for dc motors
  • Sleep mode with zero current drain
  • PWM control up to 250 kHz
  • Crossover-current protection
  • Thermal shutdown (TSD)

Part Number Specifications and Availability

Design Tools