有刷直流和步进电机驱动器

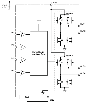
A3901: 双路全桥式低电压电动机驱动器

A3901

Product Details

Top Features

  • 低 RDS(on) 输出
  • 全步进与半步进能力
  • 小型封装
  • 用于直流电动机的正转、反转和制动模式
  • 零耗电的睡眠模式
  • 最大达 250 千赫的 PWM 控制
  • 交叉电流保护
  • 过热关机功能 (TSD)

 

Part Number Specifications and Availability

Design Tools