Magnetic Position Sensors

Micropower 3 V Linear Hall-Effect Sensor ICs with Tri-State Output and User-Selectable Sleep Mode

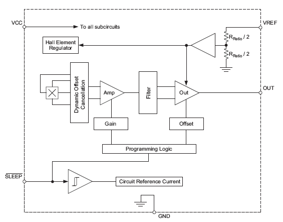
A1391-2-3-5

Product Details

Top Features

  • High-impedance output during sleep mode
  • Compatible with 2.5 to 3.5 V power supplies
  • 10 mW power consumption in the active mode
  • Miniature MLP package
  • Ratiometric output scales with the ratiometric supply reference voltage (VREF pin)
  • Temperature-stable quiescent output voltage and sensitivity
  • Wide ambient temperature range: –20°C to 85°C
  • ESD protection greater than 3 kV
  • Solid-state reliability
  • Preset sensitivity and offset at final test

Part Number Specifications and Availability

Technical Documentation