磁性位置传感器

带三态输出和用户可选休眠方式的微功率 3 V 线性霍尔效应传感器 IC

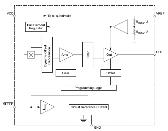
A1391-2-3-5

Product Details

Top Features

  • 休眠方式中的高阻抗输出
  • 兼容 2.5 至 3.5 V 电源
  • 10有源模式中  mW 功率消耗
  • 微型 MLP 封装
  • 与比例式电源参考电压(VREF 引脚)成比例的输出范围
  • 温度稳定的静止输出电压和灵敏度
  • 较宽的环境温度范围:–20°C 到 85°C
  • ESD 保护超过 3 kV
  • 高可靠性
  • 最后测试时预设灵敏度和偏移

Part Number Specifications and Availability

Design Tools

Technical Documentation