Switches and Latches

2D Hall-Effect Speed and Direction Sensor ICs

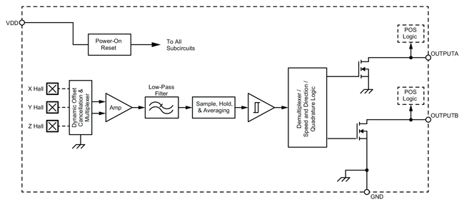
APS12625-6

Product Details

Top Features

  • Highly flexible and easy-to-use sensor for motor/encoder applications
  • 2D magnetic sensing via planar and vertical Hall elements
    • Quadrature independent of magnet pole pitch and air gap—no target optimization required
    • Works in almost any orientation to the target (XY, ZX, and ZY options)
  • Reduces accumulation of lost counts/pulses
    • System can restore correct state after power-cycling (-P option)
  • Dual outputs of quadrature or speed/direction signals
  • High magnetic sensitivity
  • Optimized for applications with regulated power rails
    • Operation from 2.8 to 5.5 V
  • Automotive grade
    • AEC-Q100 qualified
    • TJ up to 175°C
    • Output short-circuit protection
    • Resistant to physical stress
  • Small size
  • ASIL A Compliant

Additional APS12627/8 Features

  • ASIL B Compliant
  • Low Latency
    • Anti-pinch
  • 4 µm Output update rate

Part Number Specifications and Availability