磁性位置传感器

ATS344:高精度线性霍尔效应传感器 IC,采用双线电流模式 PWM 输出和集成稀土颗粒封装

ATS344

Product Details

Top Features

  • 配有集成稀土颗粒的磁性传感器 IC
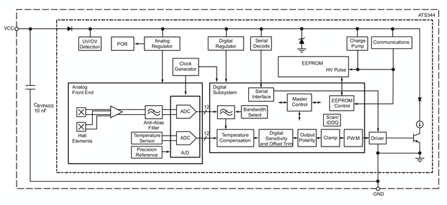
  • 两线电流模式 PWM(脉宽调制)输出
  • 用户可编程位置范围选择和偏移、带宽、输出钳位和温度补偿
  • 在 Allegro 预设灵敏度温度系数和偏移漂移
  • 通过专有的主动应力补偿和四相斩波稳定设计技术,实现温度稳定、无机械应力和低噪声器件输出
  • 宽环境温度范围:–40°C 至 150°C
  • 使用 3.75 至 9.5 V 电源电压工作
  • 差分线性信号处理
  • 获得 AEC-Q100 认证

Part Number Specifications and Availability

Design Tools