Switches and Latches

High-Temperature Precision Hall-Effect Latches

APS12200-10-30

Product Details

Top Features

  • Symmetrical latch switchpoints
  • Automotive-grade ruggedness and fault tolerance
    • Extended AEC-Q100 qualification
    • Reverse-battery and 40 V load dump protection
    • Operation from –40°C to 175°C junction temperature
    • High EMC immunity, ±12 kV HBM ESD
    • Output short-circuit and overvoltage protection
    • Superior temperature stability
    • Resistant to physical stress
  • Operation from unregulated supplies, 2.8 to 24 V
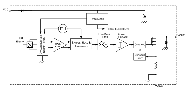
  • Chopper stabilization
  • Solid-state reliability
  • Industry-standard packages and pinouts

Part Number Specifications and Availability