开关和闩锁

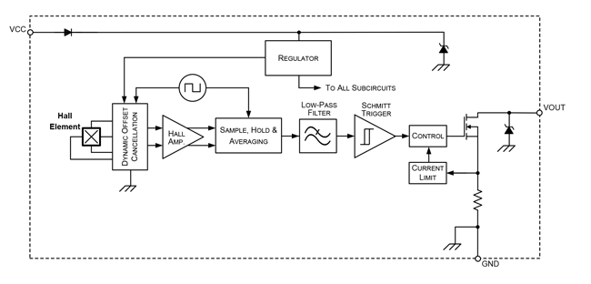
APS12200、APS12210 和 APS12230:高温精密霍尔效应锁存器

APS12200-10-30

Product Details

Top Features

  • 对称的锁存开关点
  • ASIL-A 功能安全合规性
  • 汽车级耐用性和容错能力
    • 扩展 AEC-Q100 认证
    • 电池反接和 40 V 负载突降保护
    • 运行范围从 −40°C 到 175°C 结温
    • 高 EMC 抗扰度 ±12 kV HBM ESD
    • 输出短路和过电压保护
    • 一流的温度稳定性
    • 对物理应力不敏感
  • 非稳压电源工作,2.8 - 24 V
  • 稳定斩波
  • 固态可靠性
  • 工业标准封装和管脚

Part Number Specifications and Availability

Design Tools