Product Details
Product Details
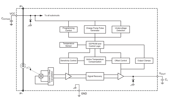
Top Features
- AEC-Q100グレード1準拠
- 出力応答時間2.5μs (標準値)
- 5V電源動作
- 非常に低い電力損失:100μΩの内蔵導体抵抗
- 強化された絶縁分離のため、経済的な、高電圧システムでのハイサイド電流検出が可能
- 4800Vrmsの絶縁強度はUL60950-1で認定
- 独自のアンプとフィルター設計技法により帯域幅が大きく向上した業界最高レベルのノイズ特性
- 一体型シールドで電流導体からダイへの高dV/dt信号による容量結合が大幅に削減され、ハイサイドで高電圧の用途におけるオフセットドリフトを防止
- 動作温度範囲全体にわたり、デジタル的にプログラミングされ、補償されたゲインおよびオフセットを用い総出力誤差を大幅に改善
- 小型パッケージで簡単な取付け
- 高信頼性を実現するモノリシックホールIC
- ACまたはDC電流に比例した出力電圧
- 精度向上のため工場調整済み
- 極めて安定した出力オフセット電圧
Part Number Specifications and Availability
Technical Documentation
Application Note
Glossary of Isolation-Related Terms for Integrated Current Sensors
Application Note
DC Current Capability and Fuse Characteristics of Current Sensor ICs with 50 to 200 A Measurement Capability
Application Note
Improved Performance and Features of Allegro’s Next Generation, High Power Density CB Package Current Sensors
Brochure
Brochure: Driving Change by Advancing Personal Mobility Through Cutting-Edge Technology
Brochure
Brochure: Battery Management Systems
Brochure
Comfort Through Sustainability - Unlock the Power of Heat Pump Innovation
Brochure
DC Fast Charging: Faster and Farther
Certificate
Certificate CB US 42444 UL CB Package
Certificate
Certificate of Compliance 20170510-E316429
Certificate
CB Certificate US-29755-M1-UL
FAQ
Current Sensors FAQ
Guide