Product Details
Product Details
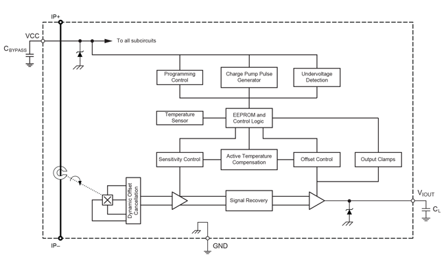
Top Features
- 符合 AEC-Q100 1 级标准
- 输出响应时间典型值 2.5 μs
- 5 V 电源操作
- 超低功率损耗:内部传导电阻 100 µΩ
- 强化电流隔离可用于高压系统的高侧电流经济感测
- 4800 Vrms 绝缘强度符合 UL60950-1 认证
- 凭借专有放大器和过滤器设计技术,该器件具有业界领先的噪声性能,并且带宽也显著改善
- 集成屏蔽可大幅减少因高 dV/dt 信号导致电流导体至晶片的电容耦合,并可防止高侧、高压应用中的偏置漂移。
- 通过在完整的操作温度范围内进行数字编程和补偿增益和偏置,大幅改善总输出错误
- 小型封装尺寸,安装简便
- 高可靠性的单片霍尔 IC
- 输出电压与交流或直流电流成比例
- 出厂时已经校准,确保精确度
- 极度稳定的输出偏移电压
Part Number Specifications and Availability
Technical Documentation
Application Note
Glossary of Isolation-Related Terms for Integrated Current Sensors
Brochure
电池管理系统
Brochure
通过可持续性实现舒适性
Brochure
DC 快速充电:速度更快、行程更远
Brochure
Brochure: Driving Change by Advancing Personal Mobility Through Cutting-Edge Technology
Certificate
Certificate of Compliance 20170510-E316429
Certificate
CB Certificate US-29755-M1-UL
Certificate
Certificate CB US 42444 UL CB Package
FAQ
Current Sensors FAQ
Guide